English
English
Español
Français

Sign Up for Our E-News!

Join over 18,000 other roofers who get the Week in Roofing for a recap of this week's best industry posts!

Sign Up
Equipter - Financing -
RCAW - Roofing Award  Ad Dec 2025
Malco Group -  Ad - Veto Pro Pac Spring Promo March-May
Certainteed - contractor credentialing
Human Certified Measurement Report
Pli-Dek -  - Only the Best - June
English
English
Español
Français

Metal Deck 101- Metal Deck Replacement

A.C.T. Metal Deck Supply - CRCA Aritcle
September 6, 2019 at 10:00 a.m.

By Michael Polizzi, A.C.T. Metal Deck Supply. 

Commercial roofing contractors' experience with replacing metal deck range from often to once in a career.

Either way, most would agree that an open roof is not the best time for a crash course on metal deck! Hopefully this will provide some important tools you’ll need . . . before you need them.

Roofing—A “Now” Business

Our background was in new construction so when getting to know commercial reroofing in the 1990s, we learned something very quickly. When asking the question, “When will you need the deck?”, it was obvious we were often getting the same urgent, almost panicky response of “what do you mean ‘when will we need it?’ Aren’t my guys there yet?” We learned very quickly that roofing is a “Now” business.

Metal deck is provided with the steel package in new construction. It comes into play with reroofing where contractors may have to replace existing decking before installing a new roof. The “urgent” response is often due either to a project coming to a standstill when deck, thought to be fine, turned out to be rusted through all but the paint . . . or from a sudden visit by Mother Nature, resulting in damage from wind, tornadoes and more.

A.C.T. Photo—Tornado damage

What is Metal Deck Exactly?

Metal deck is a structural product. It is corrugated steel engineered as part of the structural design of a building. Roof deck will have a roof system above and floor deck is a form for pouring concrete. There are many different types of steel panels. It is helpful to know what metal deck is, by knowing what it is not. In general, metal deck is not:

• An architectural/metal building panel
• Intended to be exposed on the outside of a building
• Produced with a finished paint and warranty
• Produced in galvalume Four key factors for quoting or ordering metal deck are knowing the Type, Gauge, Finish and Quantity required.

1. Type

The most common types of roof deck are:

B Deck A.C.T. photo—1 1/2” B (Wide Rib)

F Deck A.C.T. photo—1 1/2”

F (Intermediate Rib) Michael Polizzi A.C.T. Photo—Tornado damage 18 CRCA TODAY /// Spring 2019

A Deck A.C.T. photo—1 1/2” A (Narrow Rib)

N Deck A.C.T. photo—3” N (Deep Rib)

The primary products specified in new construction are B deck and for longer spans, 3” N deck. F and A decks were common in the past and now mostly used in replacement when matching existing panels. In replacement, roofing contractors are almost always matching existing panels unless the project is a complete tear-off. It is critical to know the exact dimensions of the existing panels. These dimensions include: A.C.T. graphic—deck image of match

• The Depth of the deck
• The Rib to Rib dimension
• The Opening at both the top and bottom of the flute (the low of the profile)

There are many obsolete profiles that have no exact match. A standard metal deck tip is knowing that F deck will nest into B deck and A deck will nest into both F and B deck.

A.C.T. graphic—nesting

It is important to note that this will still not solve all cases however, as some of these extinct products having flute openings even tighter than current A deck. A best practice is to take a photo of the existing deck with a tape measure on it and compare it to the dimensions of products currently in production.

A.C.T. photo—matching extinct products

Confirming these dimensions prior to having material delivered to your roof will prevent many delays and wasted labor hours.

Concrete Roof Systems

Lightweight concrete roof systems are installed on what are also known as “Form Decks” as they are the same products used to form floors. These decks are typically lower profile and lighter gauge panels installed over steel with closer spans.

Form decks for lightweight concrete roofs:

A.C.T. Photo  9/16” 1 5/16” 1” 1 1/2”

Knowing the rib to rib dimension should be especially heeded when trying to match 1” form deck. There are many profiles, both current and obsolete, with dimensions that vary slightly between ribs. Anyone who has ever dealt with matching these knows how quickly this type of panel fall out of sync when even slightly off.

2. Gauge

Roof deck mostly ranges between 22 and 16 gauge and lightweight concrete form deck ranges between 28 to 20 gauge. The lower the number, the thicker the steel. When the type or gauge of the deck is not clear, a very important factor is knowing the joist or steel spacing. In this case, product load tables can be provided to an engineer for specification.

3. Finish

Metal deck is a structural product and most commonly comes in these finishes:

• Prime painted gray
• Prime painted gray on top with a primer white bottom
• Galvanized in a G60 or G90
• .60 oz/per sq. ft. vs. .90 oz/sq. ft. of zinc
• Galvanized plus a factory applied primer
• Stainless Steel
• For food-grade or extremely corrosive environments

For prime painted deck, the Steel Deck Institute (SDI) Roof Deck Design Manual states, “Prime paints by nature are impermanent and provisional. Prime paint alone will only protect the steel for a short period of time under ordinary exterior atmospheric conditions.” Remember, this is not a finished paint.

For galvanized deck, the language has grown more extensive in recent years, but earlier manuals stated, “In corrosive or high moisture environments, a galvanized finish is desirable.” A chalky, white film forms when galvanized deck is exposed too long to moisture. This is a chemical reaction from the zinc’s “self-sacrificial characteristics” protecting the steel (for a full review visit sdi.org.) The steel is structurally sound but in cases without a drop ceiling, it may not be a preferred aesthetic by an owner.

Of course, you want the best possible product for your customers, so it is worth learning the proper handling of these finishes in order to protect your work. Properly handled, metal deck will look great and last a very long time. If left exposed to the elements too long, it will rust and develop rust staining. The SDI Design Manual provides the following regarding site storage “steel deck shall be stored off of the ground with one end elevated to provide drainage and shall be protected from the elements with a waterproof covering, ventilated to avoid condensation.”

4. Quantity Required

Asking for the correct quantity may sound like common sense but how that quantity is communicated can mean all the difference for an accurate and timely quote. Here are some examples that should be helpful:

• Total square footage needed
• Dimensions of areas to be covered
• Exact cutlist desired
• Square foot budget pricing

Fastening: With What and Where Exactly?

In addition to quoting and ordering information, having a great understanding of fastening is important to the project.

Metal deck can be fastened with welds, screws or shot down with pins. Most commonly used for deck replacement is the self-tapping screw. Welding sparks and pins shot from a tool cause unnecessary risks over an existing structure.

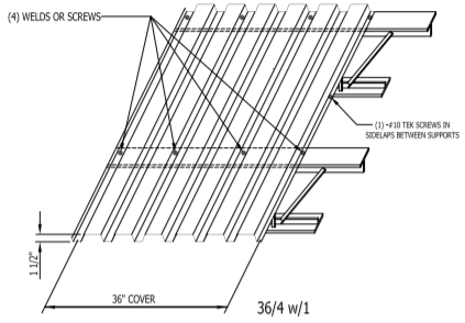
A.C.T. graphic, fastening patterns 20 CRCA TODAY /// Spring 2019 There are many fastening patterns and they are important to follow as they are part of the structural design of the building. This pattern is what tells the installer exactly where to fasten the deck both to the supporting steel and at the sidelaps, between the span. Breaking down, the common code of “36/4 w/1” is:

A.C.T. graphic - fastening pattern 36/4w/1

• 36 = The width in inches of one panel (panel widths vary.)
• /4 = Four fastening points “per” 36” panel on the steel support.
• w/1 = “With” one sidelap screw per span. There are other metal deck products, accessories and rare finishes available that you may inquire about as needed. In the meantime, a great foundation is to remember above all:
• F fits into B and A fits into both F & B
• Type, Gauge, Finish & Quantity
• Know your dimensions!

When the answer is so often, “I need it now!”, hopefully this has you well prepared with the tools you’ll need . . . Before you need them. Michael Polizzi is the Sales Manager for A.C.T. Metal Deck Supply. This CRCA Associate Member firm is a metal deck distributor with 15 locations in 11 states headquartered in Aurora, IL. For more information, call 800.894.7741 or visit metaldecksupply.com to view the Metal Deck 101 video series. 

About A.C.T. Metal Deck Supply

A.C.T. Metal Deck Supply is a full-service metal deck distributor with 15 locations in 11 states serving the U.S. and abroad. Metal roof deck, form deck and composite floor decks are available in all types, gauges, and finishes for immediate use as well as any size order produced for any project requirements and schedule. Specialty products: stainless steel, cellular and acoustic decks, construction drawings, take-off and project management are also available.

For more information, visit www.metaldecksupply.com or 800-894-7741.

Original article source: CRCA Today Spring 2019 issue



Recommended For You


Comments

Bear
January 12, 2020
Do you have metal joists too.

Leave a Reply

Commenting is only accessible to RCS users.

Have an account? Login to leave a comment!


Sign In
TAMKO - Banner Ad - Hailguard April Campaign
English
English
Español
Français

Sign Up for Our E-News!

Join over 18,000 other roofers who get the Week in Roofing for a recap of this week's best industry posts!

Sign Up
Certainteed - contractor credentialing
Johns Manville -  Ad - Recursos en Español
gFour Marketing -  Ad - Referrals
SPRI  Ad - DORA Directory
Gibralter-AirVent-Seminar-.gif
Project Map It -  Ad - Close More Roofing Jobs With Project Map It